Gostaria de pedir uma proposta comercial? Pedir Proposta

Mangueiras de Transporte

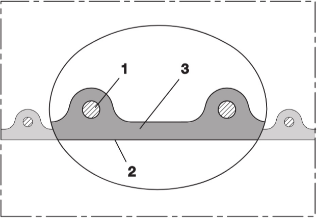
MANGUEIRA PU / ESPIRAL AÇO

Mouldpro

Referências

A carregar referências: 0 / 7 0%
[MISSING: common.error_loading]
* Os valores em promoção deste artigo são válidos até ao dia 20-12-2025