Gostaria de pedir uma proposta comercial? Pedir Proposta
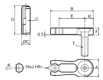
Este posicionador é simultaneamente eficaz e simples. Necessita de pouco espaço para a sua instalação e manipulação. O valor K equivale aproximadamente à força necessária para libertar o retensor.
A carregar descontos...