Gostaria de pedir uma proposta comercial? Pedir Proposta

Mostradores - LINK

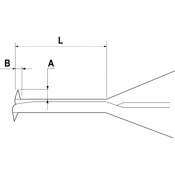
ALPA BB367 MEDIDORES INTERIORES RáPIDOS D2110

Alpa

Referências

A carregar referências: 0 / 7 0%
[MISSING: common.error_loading]
* Os valores em promoção deste artigo são válidos até ao dia 19-12-2025