Gostaria de pedir uma proposta comercial? Pedir Proposta
Descrição:
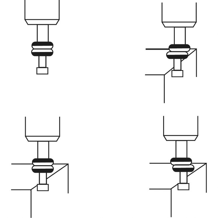
Sistema de centragem visual de alta precisão (+/- 0,005) (através do movimento da face inferior após o contato da peça de trabalho), adequado para operações típicas de centralização (velocidade recomendada de 600/800 rpm).
A carregar descontos...