Gostaria de pedir uma proposta comercial? Pedir Proposta
Descrição:
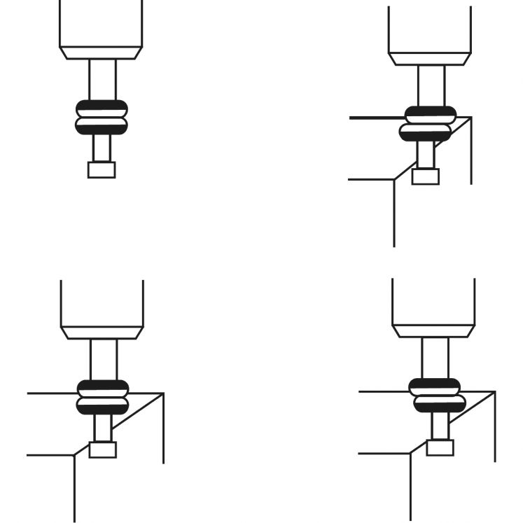
Sistema de centragem visual simples e rápido (através do movimento da face inferior após o contato da peça de trabalho), adequado para operações típicas de centralização (velocidade recomendada de 400/600 rpm).
A carregar descontos...