Gostaria de pedir uma proposta comercial?
Pedir Proposta
Português
Português
English
Français
Iniciar sessão
|
Criar uma Conta
0
0
Categorias Principais
TOOLING - Ferramentas
Mouldshop
Hidráulica, Pneumática & Componentes
SIMPLE Automation
Hidráulica, Pneumática & Componentes
Empresa
História
Sobre nós
Responsabilidade Social
Politica de Proteção de Dados
Informação Técnica
Máquinas para venda
Folhetos
Newsletter
Calculadora Nº Reynolds
Indústria 4.0
SIMPLE Automation
SIMPLE SMED REROM
Downloads
Configurador
Contactos
FAQs
×
Iniciar sessão
|
Criar uma Conta
Categorias Principais
TOOLING - Ferramentas
Mouldshop
Hidráulica, Pneumática & Componentes
SIMPLE Automation
Hidráulica, Pneumática & Componentes
Menu
Empresa
História
Sobre nós
Responsabilidade Social
Politica de Proteção de Dados
Informação Técnica
Máquinas para venda
Folhetos
Newsletter
Calculadora Nº Reynolds
Indústria 4.0
SIMPLE Automation
SIMPLE SMED REROM
Downloads
Configurador
Contactos
FAQs
Pedir Proposta
Carrinho
Categorias Principais
TOOLING - Ferramentas
Mouldshop
Hidráulica, Pneumática & Componentes
SIMPLE Automation
Hidráulica, Pneumática & Componentes
Empresa
História
Sobre nós
Responsabilidade Social
Politica de Proteção de Dados
Informação Técnica
Máquinas para venda
Folhetos
Newsletter
Calculadora Nº Reynolds
Indústria 4.0
SIMPLE Automation
SIMPLE SMED REROM
Downloads
Configurador
Contactos
FAQs
0
0
Início
TOOLING - Ferramentas
Equipamento Medição e Tecnologia Óptica
Material Medição
Medição ALPA - LINK
Ensaios de Dureza, Microscópios, Máquinas de Medição,Projectores de perfil - ALPA
Projetores de Perfil e Máquinas Ópticas - ALPA
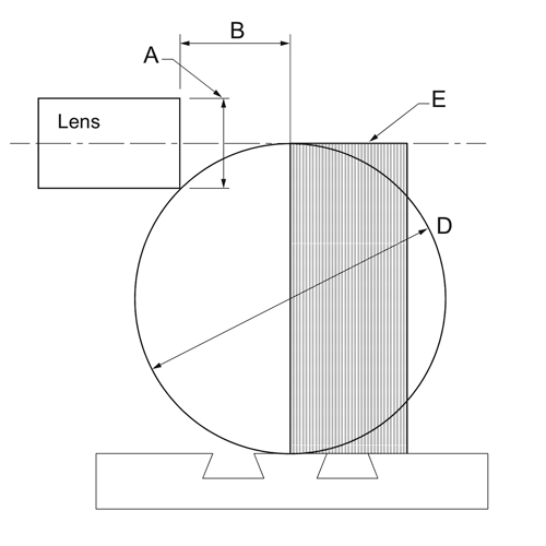
Alpa - Objetivas
Projetores de Perfil e Máquinas Ópticas - ALPA
Alpa - Objetivas
Descrição
Referências
A carregar referências:
0
/
4
0%
[MISSING: common.error_loading]
* Os valores em promoção deste artigo são válidos até ao dia 07-02-2026
Descontos de Quantidade
A carregar...
A carregar descontos...
Referência:
Preço base:
Qtd. Mínima
Desconto
Preço Unitário
Poupança
Os descontos são aplicados automaticamente quando adiciona as quantidades indicadas ao carrinho.
Não foi possível carregar os descontos de quantidade.