Gostaria de pedir uma proposta comercial? Pedir Proposta

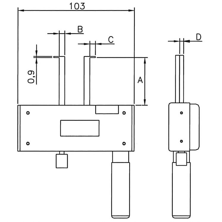
Micrómetros Interiores - LINK

ALPA D2101 BA370 CALIBRE DIGITAL MEDIÇÃO INTERIORES

Alpa