Gostaria de pedir uma proposta comercial? Pedir Proposta

Chaves Sextavadas

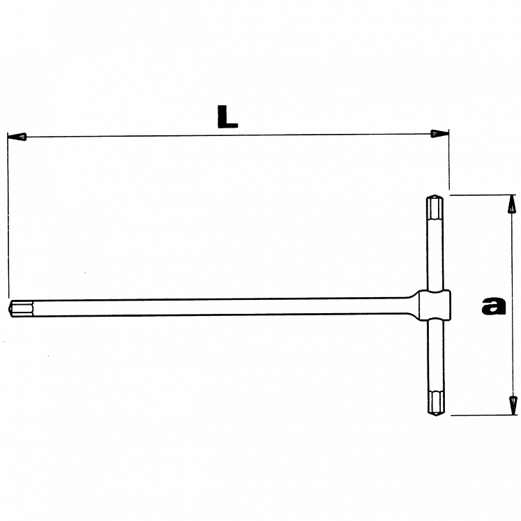
JOGO DE CHAVES EM T MACHO HEXAGONAL COM BARRA DESLIZANTE

Wodex

Referências

A carregar referências: 0 / 12 0%
[MISSING: common.error_loading]
* Os valores em promoção deste artigo são válidos até ao dia 19-12-2025