Acessórios crimpados cobre e aço inoxidável (15-54 mm)
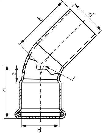
Cotovelo 45º com prensagem por dentro e por fora
Materiais: Corpos: Liga de cobre-cobre, tipo aço inoxidável: 1 4404,Selos: FKM (vermelho ) Faixa de temperatura: -20ºC a +200ºC (dependendo do meio), temporariamente max +280ºC Pressão de operação: Liga de cobre-cobre tipo: 16 bar, Tipo de aço: 40 bar (Ø 15 - 22), 25 bar (Ø 28 - 35), 16 bar (Ø 42 - 54), pressão máxima de operação com gases técnicos (z g Ar comprimido, argônio, nitrogênio, dióxido de carbono): 16 bar Campos de aplicação: Ar comprimido, água de resfriamento, água industrial, água de aquecimento, sistemas de óleo de aquecimento, sistemas solares térmicos com glicol ou mistura de água glicol Vantagens: - graças ao selo FKM também adequado para misturas de ar comprimido e glicol de água, - pode ser prensado usando todos os conjuntos de matriz padrão e eslingas, que correspondem aos contornos de prensagem originais M, V e SA, - uso com tubulação de cobre padrão EN 1057 (tipo liga de cobre-cobre), - Uso com nosso tubo de aço inoxidável 1 4404 fabricado de acordo com DIN EN 10312 (tipo aço inoxidável) Aviso: Acessórios frisados de aço C não são adequados para linhas de ar comprimido devido ao risco de corrosão.