Válvulas de esfera acionadas pneumaticamente e válvulas de aba borboleta
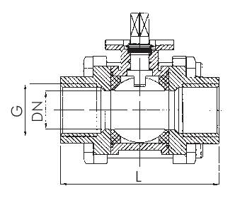
VáLVULAS DE ESFERA DE AçO INOXIDáVEL DE 3 PARTES, COM FLANGE DE MONTAGEM DIRETA, PN 63
Materiais: Carcaça: 1 4408, esfera: 1 4408, vedação: PTFE - FKM Faixa de temperatura: -20ºC a +180ºC Faixa de operação: Água, óleo, ar comprimido, vácuo (máx. -0 9 bar), combustíveis, solventes, meios agressivos Vantagens: -Length according to DIN 3202-M3, -an actuator can be fitted to the ISO 5211 assembly flange to automate the operation of the ball valve