Gostaria de pedir uma proposta comercial? Pedir Proposta

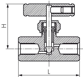
válvula de corte

Válvulas de corte de agulha de aço inoxidável, PN 400

Referências

A carregar referências: 0 / 6 0%
[MISSING: common.error_loading]
* Os valores em promoção deste artigo são válidos até ao dia 18-12-2025