Gostaria de pedir uma proposta comercial? Pedir Proposta

Interruptor do cilindro e sensores

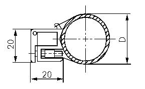
Bandas de tensão para cilindros redondos e tubos de cilindros, Tipo C1

Referências

A carregar referências: 0 / 4 0%
[MISSING: common.error_loading]
* Os valores em promoção deste artigo são válidos até ao dia 18-12-2025