Gostaria de pedir uma proposta comercial? Pedir Proposta

Tecnologia de conexão - parafusos, porcas e peças standard

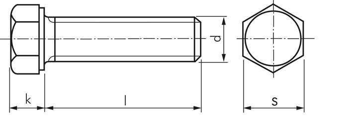
Parafusos sextavados, rosca para cabeça aproximada, DIN 933 - ISO 4017

Referências

A carregar referências: 0 / 2474 0%
[MISSING: common.error_loading]
* Os valores em promoção deste artigo são válidos até ao dia 18-12-2025