Ideais para uso com: sistemas de Troca Rápida de Moldes e Ejeção de Duas Etapas. Projetados para fornecer um método rápido de ligação da placa ejetora no seu molde ao sistema de ejeção na sua máquina de moldagem. Proporciona um retorno positivo da placa ejetora, reduzindo significativamente o tempo de configuração. Perfeitamente adequados para aquelas máquinas de moldagem onde a placa ejetora na máquina é de difícil acesso. Ideal quando se deseja ejeção central, mas é impossível de "conectar". Funciona com ejeção hidráulica ou mecânica.
Usos e Vantagens
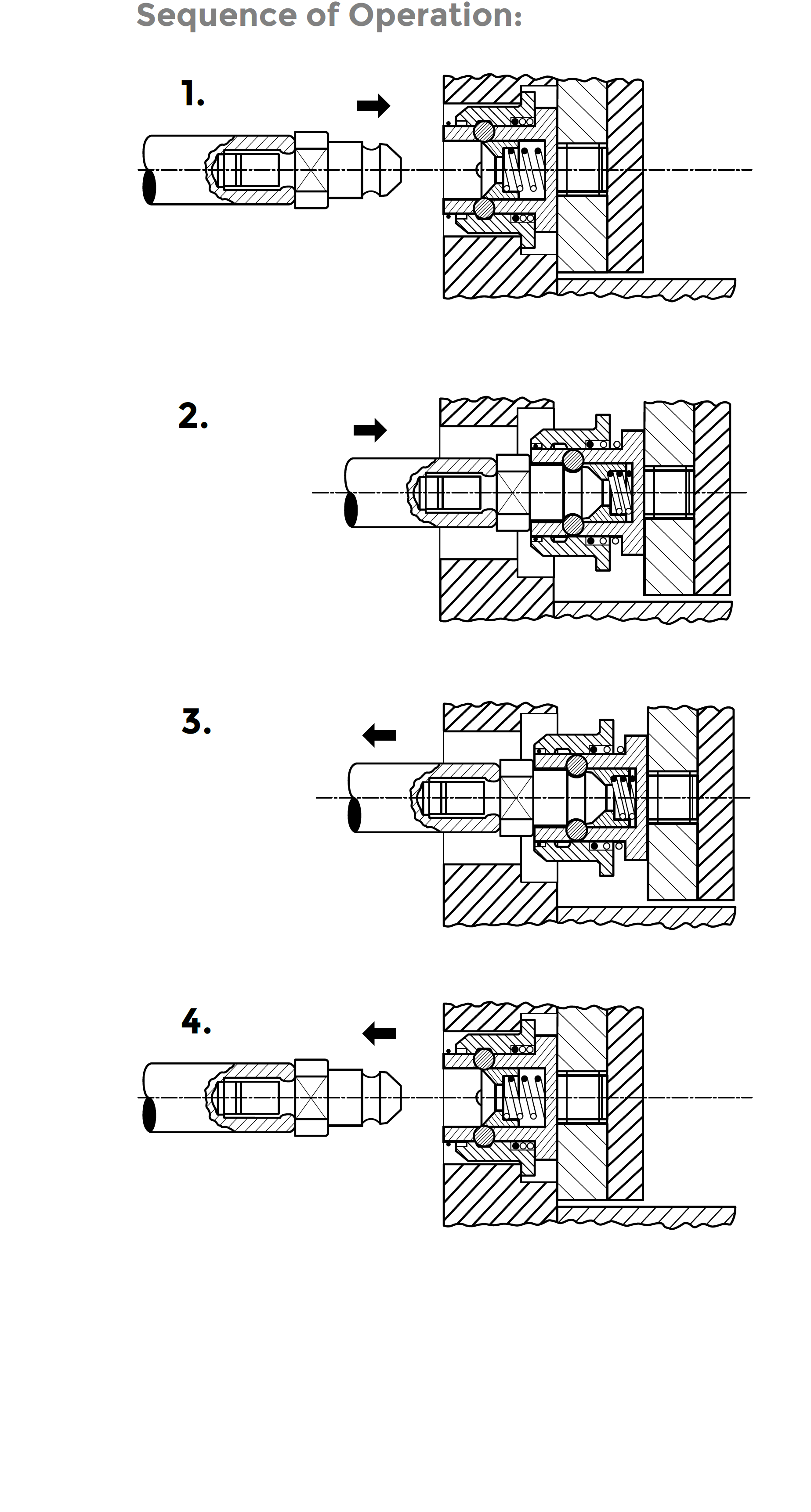
Instalação rápida e fácil (mesmo em moldes existentes). O retorno da placa ejectora é garantido.
A ejecção da peça é garantida.
O acoplamento é obtido em qualquer posição, o desacoplamento ocorre após o retorno completo da placa ejetora.
Ação rápida até 30 ciclos por minuto. Sem peças de desgaste.
Pode ser usado em todas as máquinas de injeção equipadas com ejeção hidráulica ou mecânica.
O tempo de configuração pode ser significativamente reduzido.
Reduz o ruído em máquinas com batentes mecânicos. Especialmente adequado para máquinas de injeção que não têm fácil acesso à placa ejetora.