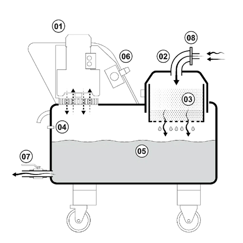
Aspirador industrial trifásico de uso contínuo, capaz de separar líquidos e sólidos misturados. O esvaziamento dos líquidos é efectuado através da inversão do fluxo de ar gerado pela turbina, eliminando qualquer problema de eventual bloqueio das bombas. Peso: 220 kg.
Características:
Turbina com motor trifásico.
Tempo de aspiração do líquido L/seg. 280/40.
Tempo de escoamento do líquido L/seg. 280/50.
Cesto de aço galvanizado microperfurado.
Sonda de nível com sistema de bloqueio automático.
Boca de aspiração Ø 50 m.
Depósito de capacidade L 280 que funciona também como estrutura de suporte de carga robusta.
Recuperação instantânea dos lubrificantes de arrefecimento com retorno direto ao depósito através de um tubo de drenagem com válvula de esfera.